樂鳥LN6C 圓形剩余電流傳感器
作者:億杰北京消防工程?? 添加時間:2017-04-28 15:28

一、樂鳥LN6C 圓形剩余電流傳感器介紹
LN6C 圓形剩余電流傳感器對接 LN6M電氣火災監控探測器給它們提供剩余電流信號,數據采集傳感器,屬于閉口圓形。
二、樂鳥LN6C 圓形剩余電流傳感器特點
使用高阻燃材料(輕盈方便)
使用超微晶忒心材料
使用環氧樹脂進行澆注(固定、散熱、抗震)
帶屏蔽接線(更好的信號提供能力)
三、樂鳥LN6C 圓形剩余電流傳感器功能
功能:提供剩余電流信號
四、樂鳥LN6C 圓形剩余電流傳感器技術規格
額定輸入:50mA-10A
輸出電流:0.025-10mA
精度:0.2%(GB14287.2-2014國標高等級)
線性度:0.1%
隔離電壓:3000Vac
五、樂鳥LN6C 圓形剩余電流傳感器應用
ABCN 四根線需要同時穿過 LN6C,LN6C出來的連根引線鏈接到 LN6M。
ABCN需要同一個方向穿過 LN6C的過孔(否則會產生剩余電流的疊加)。
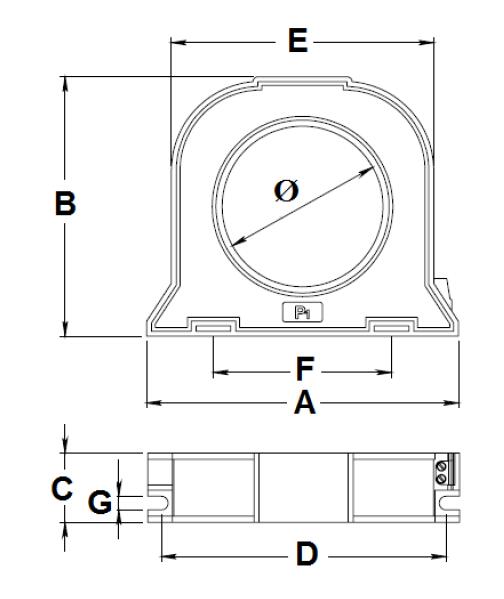
尺寸選型




相關資訊
- 04-26泰和安線型光束感煙火災探測器JTY-
- 04-26泰和安獨立式光電感煙火災探測報警
- 04-26泰和安手持編碼器TX6930
- 08-05工廠選擇安裝火災探測器需要注意的
- 01-03海灣JB-HB-GST484火災報警控制器(聯動型
- 01-03海灣JB-HB-GST242火災報警控制器(聯動型
- 12-30北京利達華信ADDBT5A-6-2開關電源
- 12-24海灣JB-QG-GST9000型火災報警控制器(聯
- 12-24海灣JB-QT-GST5000型火災報警控制器(聯
- 06-15什么是消防主機






